 |
Расчитан на устойчивую работу при воздействии температуры окружающего воздуха от −40 до +60 °C и относительной влажности до 95% при температуре +35° C.
|
|
 |
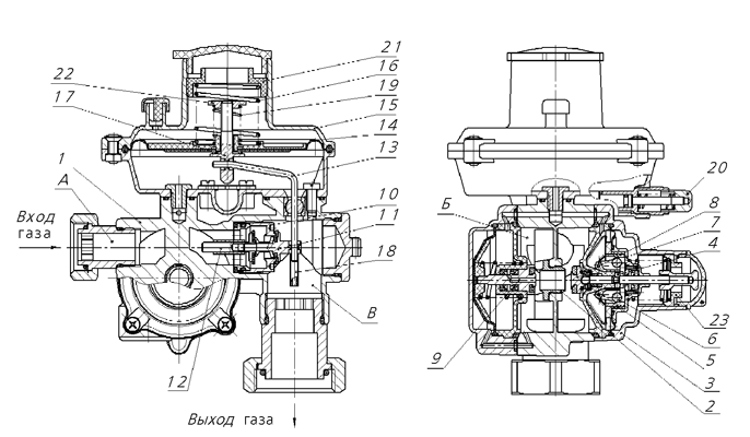
А — входная камера Б — промежуточная камера В — выходная камера 1 — корпус 2 — седло отключающего и первой ступени редуцирования 3 — отключающее устройство 4 — фиксирующие шарики 5 — передаточные рычаги 6 — ролики 7 — мембранный узел 8 — клапан 9 — сервопривод первой ступени редуцирования 10 — седло регулирующего клапана второй ступени 11 — сдвоенный регулирующий и запорный клапан 12 — шток 13 — рычажный передаточный механизм 14 — рабочая мембрана 15 — корпус 16 — задающая пружина 17 — сбросной клапан 18 — импульсивная трубка 19 — пружина 20 — кнопка запуска 21, 22, 23 — гайки регулировочные. |
 |
а — осевое исполнение б — П-образное исполнение в — угловое исполнение (вход снизу, выход сбоку) |
| В регуляторе соединены и независимо работают следющие устройства: регулятор давления, отключающее устройство, фильтр для отделения пыли, предохранительный сбросной клапан, стабилизирующее устройство. Конструкция регулятора РДГБ показана на рисунке 1. Регулятор давления газа содержит корпус 1 с входной А, промежуточной Б и выходной В камерами, седло отключающего устройства и первой ступени редуцирования 2, отключающее устройство 3 с фиксирующими шариками 4, передаточными рычагами 5 и роликами 6, мембранным узлом 7 и клапаном 8, сервопривод первой ступени редуцирования 9, седло регулирующего клапана второй ступени 10, сервопривод второй ступени редуцирования, включающий сдвоенный регулирующий и запорный клапан 11, установленный на штоке 12, рычажный передаточный механизм 13, рабочую мембрану 14 и установленную в корпусе 15 задающую пружину 16, сбросной клапан 17, смонтированный на рабочей мембране 14, импульсную трубку 18. Регулятор давления газа работает следующим образом: В исходном состоянии клапан 8 отключающего устройства 3 установлен в открытое положение. Давление газа, проходя через седло 2 первой ступени редуцирования, снижается до промежуточной величины. Далее давление газа, проходя через щель между седлом 10 и клапаном 11, снижается до необходимого значения. Выходное давление попадает в подмембранную полость мембраны 14 через импульсную трубку 18, действие которого уравновешивается задающей пружиной 16. По внутренним каналам связи в корпусе 1 давление попадает в надмембранную полость сервопривода первой ступени редуцирования и подмембранную полость отключающего устройства. При изменении расхода после регулятора выходное давление под мембраной 14 изменяется, равновесие сил нарушается, что приводит к перемещению жесткого центра мембраны в сторону нового равновесного состояния и соответствующему перемещению регулирующего клапана 11 второй ступени редуцирования. В аварийных случаях: При повышении давления в выходной камере В оно [давление] через канал связи поступает в подмембранную полость мембранного узла 7 отключающего устройства 3. Давление, действуя на мембрану, стремится сдвинуть жесткий центр мембранного узла 7 и освободить посредством передаточных рычагов 5, шток клапана 8, удерживаемый шариками 4. Клапан 8 под действием возвратной пружины закрывает седло 2, и поступление газа прекращается. При понижении давления в выходной камере В оно [давление] через импульсную трубку 18 поступает в подмембранную полость рабочей мембраны 14, что приводит к перемещению жесткого центра от воздействия задающей пружины 16, через рычажный передаточный механизм 13 воздействие передается на сдвоенный регулирующий и запорный клапан 11, поступление газа прекращается. Для осуществления сброса повышенного давления из выходной камеры В служит сбросной клапан 17, расположенный в центре рабочей мембраны 14. Значение давления срабатывания регулируется пружиной 19. Сбрасываемое давление через сбросной штуцер корпуса 15 выходит наружу. Пуск регулятора в работу после устранения причин, вызвавших срабатывание отключающего устройства, производится вручную путем нажатия кнопки запуска 20. |
| | РДГБ-10 | РДГБ-25 |
| Рабочая среда |
природный газ по ГОСТ 5542-87 |
| Температора окружающей среды, С |
от -40 до +60 |
| Наибольшее входное давление, Рвх, МПа |
0,6 |
| Пределы регулирования номинальных значений настройки выходного давления Рвых, кПа |
1,5-3 |
| Пропускная способность, м³/ч при Рвх 0,6 МПа |
10 |
25 |
| Зона пропорциональности, % от верхнего предела настройки Рвых |
±10 |
| Зона нечувствительности, % от верхнего предела настройки Рвых |
2,5 |
| Диапазон настройки срабатывания предохранительного сбросного клапана (ПСК), кПа |
1,7-4 |
| Диапазон настройки срабатывания предохранительного запорного клапана (ПЗК), кПа |
|
| при повышении Рвых |
1,8-4,7 |
| при понижении Рвых |
0,8-1,5 |
| Погрешность срабатывания ПЗК от номинального значения настройки, % |
|
| при повышении Рвых |
±5 |
| при понижении Рвых |
±10 |
| Присоеденительные размеры |
|
| выходного патрубка |
G3/4-B |
| входного патрубка |
G1/4-B |
| Габаритные размеры, мм, не более |
165х135х180 |
| Масса, кг, не более |
1,5 |
| Гарантийный срок, лет |
5 |
| Срок службы, лет |
15 |
|
|
|