 |
|
|
 |
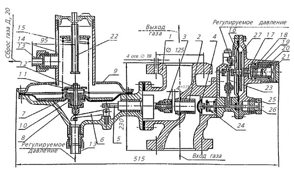
1 — крестовина 2 — седло 3 — клапан 4 — клапан отсечной 5 — шток 6 — рычаг 7 — мембрана регулятора 8 — корпус 9 — крышка 10 — клапан предохранительный 11 — пружина 12 — гайка 13 — ниппель 14 — стакан 15 — пружина 16 — мембрана 17 — толкатель 18, 19 — пружина 20 — пробка 21 — втулка 22 — винт регулировочный 23 — шток 24 — пружина 25 — пробка 26 — шток 27 — пружина |
|
В комбинированном регуляторе (см. рис.) соединены и независимо работают следующие устройства: регулятор давления, автоматическое отключающее устройство, предохранительный клапан. Регулятор давления состоит из крестовины 1 с седлом 2 и корпуса 8 с мембранной камерой. Клапан 3 через шток 5 и рычаг 6 соединен с мембраной регулятора 7, закрепленной в корпусе 8 крышкой 9. На мембране 7 находится предохранительный клапан 10 с пружиной 11 и гайкой 12. В крышке 9 мембранной камеры имеется ниппель 13 для сброса газа в атмосферу и стакан 14, в котором располагаются пружина 15 и винт регулировочный 22, предназначенные для настройки выходного давления. Отключающее устройство имеет мембрану 16, связанную с толкателем 17, к которому пружиной 27 поджат шток 23, фиксирующий открытое положение отсечного клапана 4. Настройка отключающего устройства осуществляется пружинами 18 и 19 с помощью вращения пробки 20 и втулки 21. Подаваемый к регулятору газ среднего или высокого давления проходит через входной патрубок крестовины 1, седло 2. Проходя через щель между рабочим клапаном 3 и его седлом 2, газ редуцируется до низкого давления и по выходному патрубку поступает к потребителю. Импульс регулируемого выходного давления от газопровода за регулятором подводится в подмембранную полость регулятора и надмембранную полость отключающего устройства. В случае повышения давления на выходе регулятора на 2,4–4,2 кПа открывается предохранительный сбросной клапан 10, обеспечивая сброс газа в атмосферу через «свечу». При дальнейшем повышении давления газа мембрана 16 отключающего устройства с толкателем 17 начинает перемещаться, выталкивая шток 23 из зацепления со штоком 26. В случае повышения давления на выходе регулятора на 2,9–5,1 кПа шток 23 полностью выйдет из зацепления со штоком 26 отсечного клапана 4, который под действием пружины 24 перекроет вход газа в регулятор. При понижении выходного давления мембрана 16 отключающего устройства с толкателем 17 также вытолкнет шток 23 из зацепления со штоком 26, и клапан 4 перекроет вход газа в регулятор. Пуск регулятора в работу после устранения неисправностей, вызвавших срабатывание отключающего устройства, производится вывертыванием вручную пробки 25 и оттягиванием штока 26. В результате чего клапан должен перемещаться до тех пор, пока шток 23 под действием пружины 27 не переместится и не западет за выступ штока 26, удерживая клапан 4 в открытом положении. После этого пробку 25 необходимо ввернуть до упора.
|
| Регулируемая среда |
природный газ по ГОСТ 5542-87 |
| Максимальное входное давление, МПа (кгс/см²) |
0,6(6) |
| Диапазон настройки выходного давления, кПа |
2,0–3,5 |
(3,5–5,0)* |
| Пропускная способность газа, м³/ч |
см. таблицу ниже |
| Неравномерность регулирования, % |
±10 |
| Диапазон настройки давления срабатывания предохранительно-сбросного клапана при повышении установленного выходногодавления, кПа |
2,4–4,2 |
(4,2–6,0)* |
| Диапазон настройки давления срабатывания отключающего устройства, кПа: |
| при повышении выходного давления |
2,9–5,1 |
(5,1–7,3)* |
| при понижении выходного давления |
1,1–1,9 |
(1,9–2,8)* |
| Ду, мм |
50 |
| Соединение |
фланцевое по ГОСТ 12817-80 |
| Строительная длина, мм |
230 |
| Габаритные размеры, мм: |
| длина |
260 |
| ширина |
515 |
| высота |
364 |
| Масса, кг |
19 |
* Параметры обеспечиваются установкой сменных пружин из комплекта поставки с красной полосой.
Пропускная способность регуляторов в зависимости от входного давления
| Входное давление, МПа | Пропускная способность, м³/ч |
| 0,1 |
120 |
| 0,2 |
200 |
| 0,3 |
300 |
| 0,4 |
400 |
| 0,5 |
500 |
| 0,6 |
600 |
|
|
|